O型圈內徑、外徑、內壓、外壓有什么關系?
優質內容 來源:O型圈 作者:旭麗橡塑 發布時間:2020-08-03 11:23:57 閱讀次數: 收藏數:10 分享:51
O型圈內徑、外徑、內壓、外壓有什么關系?針對這個話題旭麗小編想給大家深入講解一下,它們之間可能真的存在一定的關系,到底什么關系,請看以下。
一、什么是端面密封?
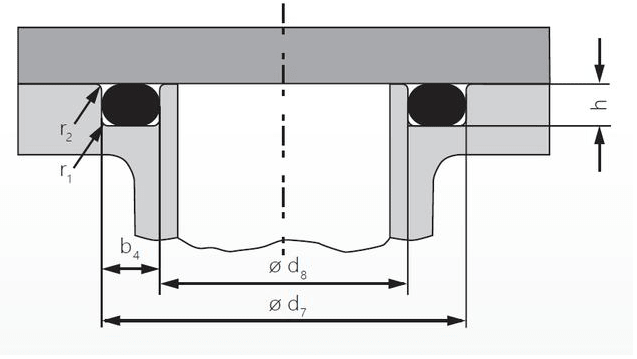
有些人叫它為軸向密封,或靜密封。因此,文字描述不夠直觀,直接看下面這張安裝的示意圖。凡是跟這張圖一樣的,都是端面密封,甭管它叫什么。

其中:
d7表示外軸直徑;
d8表示內軸直徑;
b4表示O形圈的安裝溝槽寬度;
h表示O形圈的安裝溝槽深度;
r1表示溝槽底部圓角半徑;
r2表示溝槽頂部圓角半徑。
二、O形圈的關鍵尺寸
O形圈的關鍵就兩個,一個是內直徑d1.一個是線直徑d2.

三、O形圈線徑d2與安裝溝槽相關尺寸的對應表
下表是部分與O形圈線徑d2相對應的溝槽尺寸表:

四、什么是內部受壓和外部受壓?
(1)內部受壓:表示壓力源自管道內部的高壓介質,O形圈是要防止管道內部的紅色液體,沿著下圖中紅色箭頭所指的路徑向外泄漏。
因此,在受內壓時,O形圈外徑應該與溝槽的外徑d7相等,即d7=d1+2d2.
也就是說,O形圈的外側應該緊靠溝槽的外側面。

(2)外部受壓:表示壓力源自管道外部,O形圈是要防止管道外部的紅色液體,沿著下圖中紅色箭頭所指的路徑向內泄漏。
因此,在受外壓時,O形圈內徑d1應該與溝槽的內徑d8相等,即d1=d8.
也就是說,O形圈的內側應該緊靠溝槽的內側面。

五、總結
在承受內壓時,O形圈外徑應該與溝槽的外徑d7近似相等,d7=d1+2d2.
在承受外壓時,O形圈內徑d1應該與溝槽的內徑d8相等,即d1=d8.
以上就是O型圈內徑、外徑、內壓、外壓四者之間的關系,希望能幫助大家深入了解,如有其它O型圈或相關問題,可進入旭麗官網,或歡迎電話咨詢!
永嘉旭麗橡塑科技有限公司,專注O型圈25年!
2021年05月
- 130****424129小時前【向廠家咨詢】
- 151****72129小時前【向廠家咨詢】
- 133****847539小時前【向廠家咨詢】
- 188****660339小時前【向廠家咨詢】
- 154****478117小時前【向廠家咨詢】
- 137****741858小時前【向廠家咨詢】
本文標題:O型圈內徑、外徑、內壓、外壓有什么關系?本文地址:http://www.16thcw.cn/selection/375.html



「O型圈」硅橡膠O型圈
「O型圈」氯丁橡膠O型圈
「O型圈」聚四氟乙烯橡膠O型圈
「O型圈」天然橡膠O型圈